題組內容
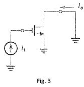
3. At higher frequencies, the MOSFET is characterized by its small-signal model by including

(b) Based on T(s), find the unity-gain frequency ωt by assuming
is relatively small. [5%]
3. At higher frequencies, the MOSFET is characterized by its small-signal model by including

(b) Based on T(s), find the unity-gain frequency ωt by assuming
is relatively small. [5%]