阿摩線上測驗
登入
首頁
>
應用力學
> 99年 - 99 高等考試_三級_農業機械:應用力學#46734
99年 - 99 高等考試_三級_農業機械:應用力學#46734
科目:
應用力學 |
年份:
99年 |
選擇題數:
0 |
申論題數:
4
試卷資訊
所屬科目:
應用力學
選擇題 (0)
申論題 (4)
一、如圖 1 所示,有一重量為W 之迴轉拋物面容器(
),置於一表面光滑 a 的地面上。今在容器內充水(水的比重量為 γ ),試求當此容器尚未離開地面時, 容器內所能充水之最大高度。設水封(water seal)之束縛力忽略不計。(25 分)
二、一曲柄機構如圖 2 所示,已知其十字頭(crosshead)與水平導件間之滑動摩擦係數 為 µ。若活塞受一已知力 P 之作用,試求使該機構平衡所必須作用於曲柄臂之力矩 M。假設其他支座及節點之摩擦均忽略不計。(25 分)
三、一質量為 m 之質點,在一圓錐漏斗內側半徑為 R
0
處,以角速度θ
•
0
繞其中心軸旋轉, 如圖 3 所示。試求其運動方程式,並決定其穩定軌跡之半徑。(25 分)
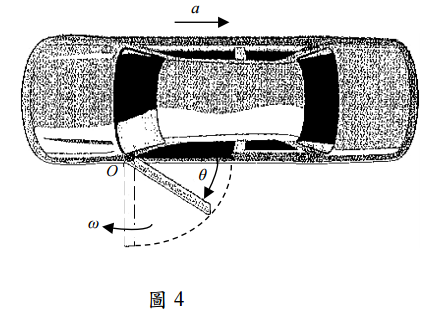
四、如圖 4 所示,一車門沒關好,當煞車時使車子產生一固定向後加速度 a ,車門會擺 動。試求當車門擺到90° 位置時,車門的角速度,及在任何θ 角時,鉸鏈的反作用力。 車門的質量為 m ,它的質量中心距鉸鏈軸 O 點的距離為 r ,車門對 O 點之迴轉半徑 為 k 。(25 分)
相關試卷
114年 - 114 高等考試_三級_農業機械:應用力學#128561
114年 · #128561
113年 - 113 高等考試_三級_農業機械:應用力學#121410
113年 · #121410
112年 - 112 高等考試_三級_農業機械:應用力學#115589
112年 · #115589
110年 - 110 高等考試_三級_農業機械:應用力學#102778
110年 · #102778
109年 - 109 高等考試_三級_農業機械:應用力學#88630
109年 · #88630
108年 - 108 高等考試_三級_農業機械:應用力學#77689
108年 · #77689
107年 - 107 高等考試_三級_農業機械:應用力學#71159
107年 · #71159
107年 - 107 中華郵政股份有限公司_職階人員甄試_專業職(一)/機械修護1、機械修護2:應用力學(靜力、動力)#68273
107年 · #68273
105年 - 105 中華郵政股份有限公司_職階人員甄試_專業職(一)/機械修護1、機械修護2:應用力學(靜力、動力)#68334
105年 · #68334
105年 - 105 高等考試_三級_農業機械:應用力學#54604
105年 · #54604