題組內容
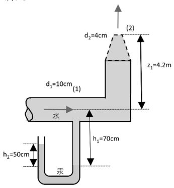
四、有一流體流入直徑 10 cm 之彎管中,從⑵出口直徑 4 cm 處流出進入大 氣中,如圖所示,此彎管由螺栓固定住(未呈現在圖上) 。若在⑴處速度 V1 = 0.8 m/s,h1 = 70 cm,h2 = 50 cm,水密度為 1000 kg/m³,汞密度為 13600 kg/m³,假設忽略重力作用且⑴與⑵處為均勻流,試求:(每小題 10 分,共 20 分)
四、有一流體流入直徑 10 cm 之彎管中,從⑵出口直徑 4 cm 處流出進入大 氣中,如圖所示,此彎管由螺栓固定住(未呈現在圖上) 。若在⑴處速度 V1 = 0.8 m/s,h1 = 70 cm,h2 = 50 cm,水密度為 1000 kg/m³,汞密度為 13600 kg/m³,假設忽略重力作用且⑴與⑵處為均勻流,試求:(每小題 10 分,共 20 分)