阿摩線上測驗
登入
首頁
>
技師◆材料力學
>
100年 - 100年海岸巡防人員、100年關務人員、100年稅務人員、100年退除役軍人轉任、100年國軍上校以上軍官轉任考關務三等_機械工程#27248
> 申論題
題組內容
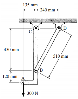
一、如下圖所示,一向下之力 300 N 作用在桿件 ABC 之 A 點,桿件 ABC 於 B 點連接 桿件 BD。B, C, D 三點皆以圓銷連接(pinned),桿件 ABC 及桿件 BD 之重量忽略 不計。試求:
⑴桿件 BD 所受之力;
相關申論題
⑵桿件 ABC 上 C 點所受之力。(20 分)
#47762
⑴此人施於A點之力;
#47763
⑵此人施於坐墊之力。(20 分)
#47764
⑴滑塊A之加速度;
#47765
⑵滑塊B之加速度;
#47766
⑶連接滑塊A繩中之張力;
#47767
⑷連接滑塊B繩中之張力。(20 分)
#47768
⑴鋼線中之應力;
#47769
⑵銅線 中之應力。(20 分)
#47770
⑴此鍊條元件直邊之最大拉應力;
#47771
相關試卷
114年 - 114 專技高考_結構工程技師:材料力學#133661
114年 · #133661
114年 - 114 專技高考_大地工程技師(ㄧ):材料力學#127506
114年 · #127506
113年 - 113 專技高考_結構工程技師:材料力學#123908
113年 · #123908
113年 - 113 專技高考_大地工程技師(ㄧ):材料力學#120298
113年 · #120298
112年 - 112 專技高考_結構工程技師:材料力學#117648
112年 · #117648
112年 - 112 專技高考_大地工程技師(ㄧ):材料力學#114622
112年 · #114622
111年 - 111 專技高考_結構工程技師:材料力學#111960
111年 · #111960
111年 - 111 專技高考_大地工程技師(一):材料力學#108382
111年 · #108382
110年 - 110 專技高考_結構工程技師:材料力學#104219
110年 · #104219
110年 - 110 專技高考_大地工程技師(一):材料力學#101386
110年 · #101386