所屬科目:專科學力鑑定◆專(二):機械元件設計
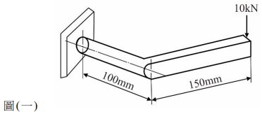
14. 折桿受力如圖(一)所示,圓桿直徑為30mm,桿材料為碳鋼,降伏強度為800MPa,若以最大剪應力理論設計,則桿根部截面A點處的安全係數為何? (A) 1.19 (B) 2.19 (C) 3.19 (D) 4.19
17. 如圖 ( 二 ) ,一 P 鋼鐵圓桿,在 X 方向承受 500 N 的拉力,若 X 方向之應變為 0.0025, 波生比 ( Poisson ’s ratio ) ν 為 0.3,則體積應變為何? (A) 0.001 (B) 0.002 (C) 0.003 (D) 0.004
18. 一鋼鐵搭接結合如圖(三)所示,斜線區域為結合面積,若承受剪力150kN,鋼鐵剪彈性模數G為20GPa,其結合面剪應變(rad)為何? (A) 0.001 (B) 0.005 (C) 0.015 (D) 0.002
48. 若 5 個螺栓的 ( x , y ) 座標值各為 ( 20, 28 ) 、( 34, 60 ) 、( 24, 84 ) 、( 70, 75 ) 、( 73, 38 ) , 則該螺栓連接的形心 () 座標值? (A) (44.2, 57.0 ) (B) ( 45.3, 60.0 ) (C) (52.5, 63.3 ) (D) ( 57.8, 65.4 )