所屬科目:技師◆結構設計
一、試敘述現行兩種鋼結構設計規範方法 ASD 與 LRDF 之內容與理念。(10 分)
二、銲接箱形組合鋼梁斷面如下圖所示,為結實斷面,fy = 2.5 tf/cm2,Es = 2040 tf/cm2,計算此鋼梁之降伏彎矩強度(My)與塑性彎矩強度(Mp)。(20 分)
三、T 形斷面之鋼筋混凝土柱如下圖所示,鋼筋降伏強度 fy = 4200 kgf/cm2,混凝土抗壓強度 f'c = 280 kgf/cm2,配置 3 根 D29 拉力鋼筋,D29 鋼筋面積 As = 6.469 cm2。計算此鋼筋混凝土梁之理論上計算彎矩強度 Mn =?與規範上之設計彎矩強度 Mdesign =?(30 分)
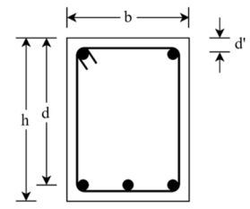
四、矩形斷面之鋼筋混凝土梁如下圖所示,寬度 b = 30 cm,深度 h = 70 cm,有效深度 d = 63 cm,d’ = 7 cm,鋼筋降伏強度 fy = 4200 kgf/cm2,混凝土抗壓強度 f'c = 280 kgf/cm2,鋼筋彈性係數 Es = 2.04×106kgf/cm2,如配置 6 根 D32 拉力鋼筋,D32 鋼筋面積 As = 8.143 cm2 與 2 根 D25 壓力鋼筋, D25 鋼筋面積 As = 5.067 cm2。計算此鋼筋混凝土梁之理論上計算彎矩強度 Mn =? 與規範上之設計彎矩強度Mdesign=?(40 分)