阿摩線上測驗
登入
首頁
>
(高等)工程力學(包括靜力學、動力學與材料力學)
> 96年 - 96 關務特種考試_三等_機械工程:工程力學(包括靜力學、動力學與材料力學)#52262
96年 - 96 關務特種考試_三等_機械工程:工程力學(包括靜力學、動力學與材料力學)#52262
科目:
(高等)工程力學(包括靜力學、動力學與材料力學) |
年份:
96年 |
選擇題數:
0 |
申論題數:
6
試卷資訊
所屬科目:
(高等)工程力學(包括靜力學、動力學與材料力學)
選擇題 (0)
申論題 (6)
⑴ k 值為何?(10 分)
⑵當質點位置通過 x = 1 m 時,該質點的速度為何?(10 分)
【已刪除】二、如圖所示之矩形斷面梁,其梁頂面之溫度為 T
1
,梁底部之溫度為 T2 ,若梁斷面高為 h,α 為其熱膨脹係數,則該梁在此溫度變化下,C 點處之垂直撓度為何?(20 分)
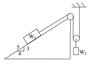
【已刪除】三、如圖所示之滑輪系統組, W
1
= 200 N , W
2
= 100 N , W
1
物體與斜面間摩擦係數 µ = 0.2 ,試求 W
1
與 W
2
物體之加速度分別為何?假設滑輪為無質量且不計繩與滑 輪間之摩擦。(20 分)
【已刪除】四、如圖所示之構件系統,其 A 點為絞接(hinge)支承,C 點及 D 點係由兩根相同的 絞接端細長柱所支持,且每根柱之撓曲剛度為 EI,試問 B 點之載重 F 為何值時將 使此構件系統崩壞?(20 分)
【已刪除】五、一質量為 m 的均勻水平方板,B 處為絞接支承,A 處連接一條勁度為 k 的水平彈簧。 如果 A 處沿著彈簧方向移動一段小位移並放鬆之,試求此方板所產生振動的週期 (period)為何?(20 分)
相關試卷
102年 - 102 專技高考_機械工程技師:工程力學(包括靜力學、動力學與材料力學)#25968
102年 · #25968
102年 - 102 身心障礙特種考試_三等_機械工程:工程力學(包括靜力學、動力學與材料力學)#25864
102年 · #25864
99年 - 99 身心障礙特種考試_三等_機械工程:工程力學(包括靜力學、動力學與材料力學)#47084
99年 · #47084
99年 - 99 關務、專利商標審查特種考試_三等_機械工程:工程力學(包括靜力學、動力學與材料力學)#46982
99年 · #46982
99年 - 99 專技高考_造船工程技師:工程力學(包括靜力學、動力學與材料力學)#46472
99年 · #46472
99年 - 99 專技高考_機械工程技師:工程力學(包括靜力學、動力學與材料力學)#46423
99年 · #46423
98年 - 98 公務升官等考試_薦任_機械工程:工程力學(包括靜力學、動力學與材料力學)#47828
98年 · #47828
98年 - 98 地方政府特種考試_三等_機械工程:工程力學(包括靜力學、動力學與材料力學)#47701
98年 · #47701
98年 - 98 專技高考_機械工程技師:工程力學(包括靜力學、動力學與材料力學)#47487
98年 · #47487
96年 - 96 身心障礙特種考試_三等_機械工程:工程力學(包括靜力學、動力學與材料力學)#50844
96年 · #50844