阿摩線上測驗
登入
首頁
>
(高等)工程力學(包括靜力學、動力學與材料力學)
> 98年 - 98 地方政府特種考試_三等_機械工程:工程力學(包括靜力學、動力學與材料力學)#47701
98年 - 98 地方政府特種考試_三等_機械工程:工程力學(包括靜力學、動力學與材料力學)#47701
科目:
(高等)工程力學(包括靜力學、動力學與材料力學) |
年份:
98年 |
選擇題數:
0 |
申論題數:
6
試卷資訊
所屬科目:
(高等)工程力學(包括靜力學、動力學與材料力學)
選擇題 (0)
申論題 (6)
⑴試計算纜繩所需之張力 T。(10 分)
⑵試求出作用在 C 滑輪中心上之合力大小。(10 分)
二、下圖為一平面桁架,在接點 G 上受一外力 200 kN,試求桿件 KL、CL 和 CB 所受之 軸向力。(20 分)
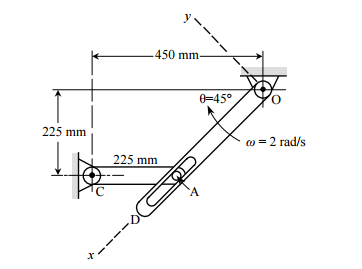
三、一裝置如下圖所示,A 點被固定於 CA 桿件上,並可在桿件 OD 上滑動,OD 桿件 的等角速度為 2 rad/s。當 θ=45°時,試決定 A 點之速度。(10 分)和其與 OD 桿件 之相對速度。(10 分)
四、一力矩T
0
施於兩相連之桿件上,如下圖所示,螺栓直徑為 0.75 英吋,螺栓所圍成之 圓直徑d為 6 英吋,假設螺栓所承受之最大剪力為 14 ksi,請計算在不產生破壞的情 況下,T
0
之最大值為何?(20 分)
五、一截面積A=1200 mm
2
之柱,受P=90 kN的壓縮軸向力(如下圖),請計算並繪出一 側平行截面pq的微小元素a之應力分布圖。(20 分)
相關試卷
102年 - 102 專技高考_機械工程技師:工程力學(包括靜力學、動力學與材料力學)#25968
102年 · #25968
102年 - 102 身心障礙特種考試_三等_機械工程:工程力學(包括靜力學、動力學與材料力學)#25864
102年 · #25864
99年 - 99 身心障礙特種考試_三等_機械工程:工程力學(包括靜力學、動力學與材料力學)#47084
99年 · #47084
99年 - 99 關務、專利商標審查特種考試_三等_機械工程:工程力學(包括靜力學、動力學與材料力學)#46982
99年 · #46982
99年 - 99 專技高考_造船工程技師:工程力學(包括靜力學、動力學與材料力學)#46472
99年 · #46472
99年 - 99 專技高考_機械工程技師:工程力學(包括靜力學、動力學與材料力學)#46423
99年 · #46423
98年 - 98 公務升官等考試_薦任_機械工程:工程力學(包括靜力學、動力學與材料力學)#47828
98年 · #47828
98年 - 98 專技高考_機械工程技師:工程力學(包括靜力學、動力學與材料力學)#47487
98年 · #47487
96年 - 96 關務特種考試_三等_機械工程:工程力學(包括靜力學、動力學與材料力學)#52262
96年 · #52262
96年 - 96 身心障礙特種考試_三等_機械工程:工程力學(包括靜力學、動力學與材料力學)#50844
96年 · #50844