阿摩線上測驗
登入
首頁
>
結構分析(包括材料力學與結構學)
> 101年 - 101年外交領事人員及外交行政人員、101年國際經濟商務人員、101年法務部調查人員、101年國家安全局國家安全情報人員、101年民航人員、101年經濟部專利商標審查人員、101年軍法官考調查人員三等_營繕工程組#38379
101年 - 101年外交領事人員及外交行政人員、101年國際經濟商務人員、101年法務部調查人員、101年國家安全局國家安全情報人員、101年民航人員、101年經濟部專利商標審查人員、101年軍法官考調查人員三等_營繕工程組#38379
科目:
結構分析(包括材料力學與結構學) |
年份:
101年 |
選擇題數:
0 |
申論題數:
4
試卷資訊
所屬科目:
結構分析(包括材料力學與結構學)
選擇題 (0)
申論題 (4)
【已刪除】一、一梁構造受力如圖示,A 點與 D 點分別為固支承(fixed support)與輥支承(roller), B 點處為鉸接(hinge) ⑴試計算支承點 A 及 D 之反力。(10 分)⑵請繪製梁之剪 力圖(shear diagram)與彎矩圖(moment diagram)。(15 分)
【已刪除】二、上題之梁斷面如圖示,梁之楊氏係數(Young’s modulus) E=200 GPa,⑴試計算 梁 之 最 大 拉 伸 應 力 ( maximum tensile stress ) 與 最 大 壓 縮 應 力 ( maximum compressive stress)。(20 分)⑵試計算梁之最大剪應力(maximum shear stress)。 (5 分)
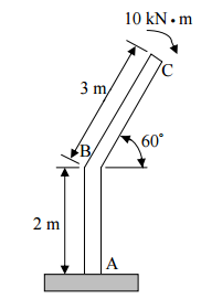
【已刪除】三、一鋼架構造受力如圖示,取E=200 GPa、I=15(10
6
)mm
4
,求點C之垂直位移。( 25 分)
【已刪除】四、一平面桁架構造受力如圖示,各桿件 AE 值為常數且相同,求所有桿件的內力。 (25 分)
相關試卷
114年 - 114 離島地區公務特種考試_三等_土木工程:材料力學與結構學#134741
114年 · #134741
114年 - 114 專技高考_土木工程技師:結構分析(包括材料力學與結構學)#133668
114年 · #133668
114年 - 114 司法特種考試_三等_檢察事務官營繕工程組:結構分析(包括材料力學與結構學)#129563
114年 · #129563
114年 - 114 調查特種考試_三等_營繕工程組:結構分析(包括材料力學與結構學)#129558
114年 · #129558
113年 - 113 離島地區公務特種考試_三等_土木工程:材料力學與結構學#124492
113年 · #124492
113年 - 113 專技高考_土木工程技師:結構分析(包括材料力學與結構學)#123926
113年 · #123926
113年 - 113 調查特種考試_三等_營繕工程組:結構分析(包括材料力學與結構學)#122120
113年 · #122120
113年 - 113 司法特種考試_三等_檢察事務官營繕工程組:結構分析(包括材料力學與結構學)#122107
113年 · #122107
112年 - 112 專技高考_土木工程技師:結構分析(包括材料力學與結構學)#117636
112年 · #117636
112年 - 112 司法特種考試_三等_檢察事務官營繕工程組:結構分析(包括材料力學與結構學)#116196
112年 · #116196