所屬科目:統測◆06土木與建築群◆(一)工程力學、工程材料
1. 木棒長L,其重量可忽略。一端以鉸(hinge)支承固定於牆上,另一端P用細繩懸於牆,使木棒成水平,細繩與木棒成θ之夾角,於木棒上距O點為x距離處掛一重 W的物體,其平衡狀態如圖(一)所示。今若將木棒上重物之位置向右移(即令x增大),下列何者正確? (A) 細繩張力變大 (B)鉸(hinge)支承施予木棒作用力的水平分力變小 (C)鉸(hinge)支承施予木棒作用力的垂直分力變大 (D)鉸(hinge)支承與細繩施予木棒的合力變大
2. 一承受均勻靜水壓力之物體,假設材料具均質、等向性且符合虎克定律,下列有關蒲松比v(Poisson's ratio)、體積彈性模數K(Bulk modulus)及彈性模數E(Modulus of elasticity)之敘述,何者 不正確 ? (A)當v=時,K=E (B) K與E具有相同單位 (C)若v=時,K為無限大 (D) 單位體積之體積變化量,由正向應變及剪應變造成
3. 欲使圖(二)所示外伸梁彎矩的絕對值為最小(即最大正彎矩等於最大負彎矩),試求A支承與B支承間的距離a為何? (A)(B) (C)(D)
4. 如圖(三)所示之簡支梁,其危險斷面距A端多少距離? (A) 2.0m (B) √5 m (C) √6 m (D) √7 m
5. 如圖(四)所示,A、B兩端固定,桿件軸向剛度為EA,受到圖示力量之作用,試求A端的反力為何? (A) 2P (B)(C)(D) P
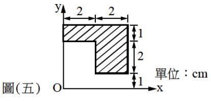
6. 如圖(五)所示之斜線區域,其形心位置距離0點之座標為,則為多少cm? (A) 5.0 (B) 5.25 (C) 5.5 (D) 5.75
7. 如圖(六)所示之C形斷面,下列敘述何者正確? (A) 此斷面形心位置距離O點之座標為(2.8,5) (B) 此斷面對x軸慣性矩與對y軸慣性矩相同 (C) 此斷面對x軸慣性矩為1684cm4 (D) 此斷面對y軸慣性矩為684cm4
8. 如圖(七)之房屋,直接座落於地面上,房屋自重為W=250kN,與地面間之靜摩擦係數為0.4,於地震時承受一離地面4m之水平地震集中力F=200kN,在房屋右側高於地面1m處施加一水平集中力P來避免房屋傾倒與滑動,若要房屋於地震時不向右側傾倒亦不左右滑動,則此右側之水平集中力P至少需為多少kN? (A) 50 (B) 75 (C) 100 (D) 125
9. 一均質簡支梁承受如圖(八)所示之載重,梁斷面尺寸為12cm×20cm,當該梁A點斷面所受之最大剪應力為10N/cm²時,試求圖中載重P之值為多少N? (A) 6400 (B) 9600 (C) 12800 (D) 15000
10. 如圖(九)所示之雙料梁斷面,由兩種材料所組成,中間腹板材料之彈性係數為E₁ =4×105kN/cm²,上下翼板材料之彈性係數為E₂=2×105kN/cm²,當斷面承受一正彎矩M=10kN-m時,則此斷面上A點與B點之彎曲應力比為何? (A) 0.5 (B) 1.0 (C) 1.5 (D) 2.0
11. 一懸臂梁如圖(十)所示,梁斷面尺寸為12cm×20cm,梁之自由端受一逆時針方向彎曲力矩M=2kN-m與一軸壓力P=48kN作用,則固定端處斷面頂部A點與底部B點之合成應力比為何? (A) -1/3 (B) -3 (C) -6 (D) -9
12. 已知一力的大小為490kgf,作用方向由A點(2,3,6)指向O點(0,0,0),單位為公尺(m),如圖(十一)所示,下列何者正確? (A)x軸向分力為140kgf(→) (B) y軸向分力為210kgf(↓) (C)z軸向分力為420kgf(↙) (D) z軸向分力為210kgf(↙)
13. 某空間力系,其力量作用之位置如圖(十二)所示,下列何者 不正確 ? (A)該力系之合力為0kgf (B)該力系之合力系形式為單一力偶 (C)各力對z軸之力矩和∑ 為30kgf-m(+z向) (D) 該力系之合力偶大小為kgf-m
14. 有一懸臂梁受力如圖(十三)所示,下列敘述何者 不正確 ? (A) 外力合力大小為0kgf (B) 外力合力矩大小為0kgf-m (C) A點y方向反力為0kgf (D) A點彎矩方向反力為250kgf-m(逆時針)
15. 有一剛架如圖(十四)所示,若F=100kgf,則下列敘述何者 不正確 ? (A) A點x向反力為440kgf(←) (B) A點y向反力為165kgf(↑) (C) D點y向反力為295kgf(↑) (D) A點反力合力大小為 kgf
16. 有一結構如圖(十五)所示,則下列敘述何者正確? (A) C點x向反力為 kgf(→) (B) A點x向反力為kgf(→) (C) A點y向反力為kgf(↓) (D) C點反力合力大小為 kgf
17. 有一桁架如圖(十六)所示,則下列敘述何者正確? (A)零桿8支 (B) 零桿6支 (C) 零桿5支 (D) 沒有零桿
18. 關於理想平面桁架之敘述,下列何者 不正確 ? (A) 外力可作用在桿身與節點上 (B) 若桿件自重忽略不計,可視為二力構件 (C) 桿件端部假設以光滑銷釘連接,不考慮其摩擦力 (D) 零桿是指無內力之桿件
19. 如圖(十七)之桁架結構,AC桿件之內力為何? (A)5kgf(拉力) (B)5kgf(壓力) (C)kgf(壓力) (D)kgf(拉力)
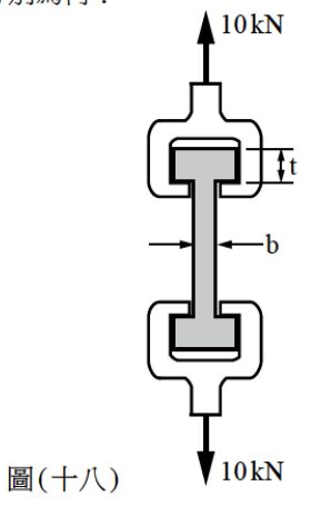
20. 一木材試片(試片厚為25mm)在拉力試驗機受到10kN的拉力,如圖(十八)所示;若木材的容許正向拉應力為=16MPa,容許剪應力為=2.0MPa,欲使木材試片恰達到前述要求,則所需尺寸b及t分別為何? (A) b=15mm;t=200mm (B) b=15mm;t=100mm (C) b=25mm;t=200mm (D) b=25mm;t=100mm
21.下列何種材料 不適合 作為結構材料? (A) 瓷磚 (B) 鋼筋 (C) 混凝土 (D) 木材
22. 若施工時要銲接鋼筋,應選擇下列何種標記符號的鋼筋? (A) SD 280 W (B) SD 280 (C) SD 420 (D) SR 240
23.下列哪種材料的耐高溫性最差? (A)混凝土 (B) 鋼材 (C) 陶瓷 (D) 塑膠
24.下列有關粒料細度模數(F.M.)的敘述,何者 不正確 ? (A) 表示粒料的粗細程度 (B)表示粒料的級配狀況 (C) F.M.越大,粒料越粗 (D) F.M.=0代表所有粒料均通過#100篩
25.下列何者是造成金屬產生應力腐蝕的最主要因素? (A) 壓應力 (B) 拉應力 (C)剪應力 (D) 磁力
26. 現擬興建一個與海水接觸的水泥混凝土港灣工程,應選用哪一種卜特蘭水泥較適合? (A) 第三型卜特蘭水泥 (B) 第一型卜特蘭水泥 (C) 第二型卜特蘭水泥 (D) 第四型卜特蘭水泥
27.進行水中混凝土澆置工作時,應使用下列哪一種工具施工,並保持混凝土出口在新澆置混凝土面下1~2公尺: (A) 泵送管 (B) 密特管 (C) 壓力管 (D) 特密管
28. 瀝青之軟化點試驗,主要在測定瀝青材料開始軟化時的: (A) 時間 (B) 延展性 (C) 溫度 (D) 溶解度
29.下列有關木材強度的敘述,何者 不正確 ? (A) 橫壓強度小於縱壓強度 (B) 縱拉強度大於橫拉強度 (C) 乾燥的劈裂強度大於潮濕的劈裂強度 (D) 縱剪強度小於橫剪強度
30. 拉應力與伸長應變為正值,壓應力與收縮應變為負值。蒲松比(Poisson's ratio)等於: (A)(+)側向應變/軸向應變 (B) (+)側向應力/軸向應力 (C)(-)側向應變/軸向應變 (D)(-)側向應力/軸向應力
31. 下列何種試驗法屬於新拌混凝土之試驗? (A) 抗壓強度試驗 (B) 抗彎強度試驗 (C) 透水試驗 (D) 坍度試驗
32.一般砌磚常用之灰縫黏結材料為: (A) 黏土 (B) 環氧樹脂 (C) 混凝土 (D) 水泥砂漿
33. 柔性路面所使用之主要材料為: (A) 黏土 (B) 瀝青混凝土 (C) 鋼筋混凝土 (D) 空心磚
34. 木材中游離水全部蒸發,而吸收水呈飽和狀態,此時木材之含水量與全乾木材重之百分率稱為: (A) 纖維飽和點 (B) 平衡含水量 (C) 面乾內飽和 (D) 氣乾
35.卜特蘭水泥之四種主要化合物中,提供水泥材料強度的主要來源為: (A) 鋁酸三鈣(C3A)、矽酸三鈣(C3S) (B) 矽酸三鈣(C3S)、矽酸二鈣(C₂S) (C) 鋁酸三鈣(C3A)、矽酸二鈣(C₂S) (D) 鋁酸三鈣(C3A)、鋁鐵酸四鈣(C₁AF)
36.「冷縫」為先澆置的混凝土凝結後,再澆置的混凝土無法與其有效黏結而形成的接縫。請問實務上應如何避免此問題? (A) 澆水保濕 (B) 增加水泥用量 (C) 使用混凝土緩凝劑 (D) 重拌混凝土
37. 為增加石材的抗風化能力,可先在石材表面塗上一層水玻璃溶液,待乾後再塗上一層何種溶液? (A) 氧化鈣水溶液 (B) 氫氧化鈉溶液 (C) 氯化鈉溶液 (D) 碳酸鈣溶液
38. 在進行鋼筋混凝土梁、柱結構物設計時,為使結構物在破壞前有適當的警訊,應使用鋼筋的何種強度進行設計? (A) 極限抗拉強度 (B) 降伏強度 (C) 抗壓強度 (D) 抗彎強度
39. 門窗玻璃在抵抗風壓時,何種性質最為重要? (A) 抗紫外線 (B) 抗壓強度 (C) 抗透水 (D)抗彎(撓)強度
40.一般的防鏽塗料,依施工順序分為: (A) 面漆、中塗漆、底漆 (B) 中塗漆、底漆、面漆 (C) 底漆、中塗漆、面漆 (D) 底漆、面漆、中塗漆