所屬科目:靜力學概要與材料力學概要
一、如圖之截面,求此截面對 x 軸、 y 軸之面積慣性矩,及面積慣性積。(25 分)
二、重為W 之物體放在傾斜θ角之斜面上,如圖所示。物體與斜面間的最大靜摩擦角為,且 > q ,則使物體產生臨界運動(impending motion) 之最小水平力 Q = ? (25 分)
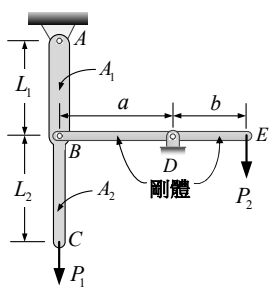
三、如圖示,垂直桿 ABC 為非等截面。AB 段:長度 L1 ,截面積 A1 ,楊氏模數為 E ;BC 段:長度 L2 ,截面積 A2 ,楊氏模數為 E 。水平桿 BDE 為剛性桿。外力 P1 及 P2 分別作用於 C 點及 E 點。求:B 點垂直方向位移, C 點垂直方向位移,E 點垂直方向位移。(25 分)
四、如圖示之托架,力量 F1 = 70 N , F2 = 30 N 分別作用於 B,D 兩點,求此力系之合力向量 ,及對 O 點之合力矩向量。(25 分)