所屬科目:教甄◆機械科/模具科/製圖科/生物產業機電/電腦機械製圖科
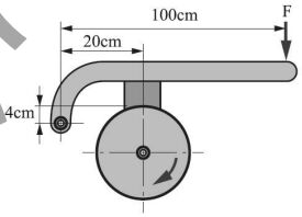
3. 如圖之單塊制動器,輪鼓作順時針旋 轉,轉軸之扭矩T=3000N-cm,輪鼓直徑30cm,摩擦係數μ=0.2,若制動桿與制動 塊之距離由4cm減至0cm,則制動作用力 F之改變為何? (A)增加4N (B)減少4N (C)增加8N (D)減少8N。
4. 如圖所示,小明沿水平面拉動一物體,其繩與水平成一夾角ø,已知物體與地面之摩擦係數為μ=0.577,則ø 最小值為何? (A)25° (B)30° (C)45° (D)60°。
5. 如圖所示,物體承受軸向應力,當= −80MPa,= 120MPa,則在 mn 截面之正交應力為多少 MPa? (A)30 (B)−30 (C)−50 (D)60
6. 如圖所示,A、B 兩物體放置於平面上, 其 μ=0,若質量= 240N、=120N,現以一水平推力 F=324N 持續推動兩物體則 A、B 間所受力為多少 N? (A)192 (B)216 (C)232 (D)320
7. 如圖所示,物體A的質量為30kg,物體B的質量為50kg ,物體A與地板間的摩擦係數為0.3。若連結A、B二物體的繩索長度不變,且忽略滑輪的摩擦力與繩索重量,則物體A的加速度大小約為多少m/sec2? (A)3 (B)4 (C)5 (D)6。
12. 如圖,一複合式彈簧組,K1 為 3 N/mm,K2 為 4 N/mm,K3 為 3 N/mm,其總彈簧常數 K 為多少 N/mm? (A)7 (B)8 (C)9 (D)13。
13. A與B兩圓柱形摩擦輪,其為切線速度),但兩軸之轉速比等於1:2,則之直徑比值為 (A)3:1 (B)3:2 (C)2:3 (D)5:3
15. 圖示中,表面加工符號未說明之事項為何? (A)表面研光加工 (B)表面加工粗糙度為 0.4 (C)基準長度為 0.4 (D)加工刀痕方向應與所指加工面邊緣平行。
3.下圖為低碳鋼之應力-應變圖,點4與點5為應變硬化,點5與點6間為頸縮區,請寫出1、2、3、5、6各點之名稱。
4.如下圖所示,有一物體重150N放置斜面上,物體與斜面之摩擦係數為0.25,若作用力P,欲將物體往上滑動,則作用力P之最小值應為多少N?(四捨五入並取小數點後兩位)
5.如下圖所示之彎矩最大值為多少N-m?(請繪出剪力-彎矩圖,否則不予計分)
6.學生拿機件原理課本所列,皮帶輪傳遞功率SI制的公式P =請求說明,請逐項說明各代表符號的意義及單位,並解釋為何要除以1000及60。
9.如圖為一變速機構,斜齒輪A齒數20齒,為輸入端,順時針3000rpm旋轉,斜齒輪B齒數60齒,蝸桿C為雙線左旋螺紋,蝸輪D齒數50齒與蝸桿嚙合,試求蝸輪輸出轉速與旋轉方向為何?
(1)
(2)
11.如下圖所示之立體圖,請按正投影原理繪製三視圖。(比例約 1:1)