阿摩線上測驗
登入
首頁
>
教甄◆機械科/模具科/製圖科/生物產業機電/電腦機械製圖科
>
113年 - 113 教育部受託辦理公立高級中等學校教師甄選試題:機械科、製圖科、板金科、電腦機械製圖科#122245
> 申論題
題組內容
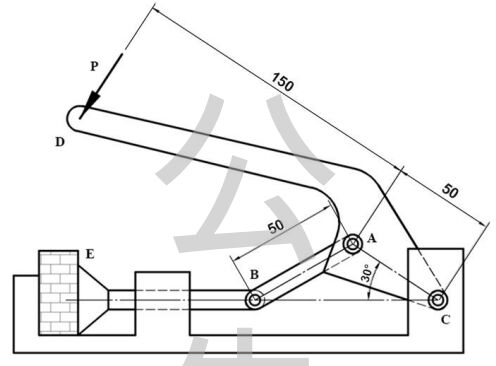
4. 下圖為一肘節機構,在 D 點處施加 P=100N 的力,軸 BE 會在導軌中左右水平移動,機構的重量都忽略不計,試求:
(2)討論圖中之30°角變大或變小時對夾緊力有何影響? (3 分)
相關申論題
1. 如下圖所示,將一車床利用鋼索 OB 及彈簧 OA 及 OC 吊掛起來,車床之質量為 2000kg,鋼索 OB 之張力為 5000N,求彈簧 OA 及 OC 的變形量為多少 m? (重力加速度g = 9.8 m ⁄ s2,四捨五入取至小數點後第 2 位)(4 分)
#520808
2. 如下圖所示,有一球在國家劇院光滑屋頂頂端自由滑下。屋頂長 39.2 公尺,並與水平成 30°屋簷離地 39.2 公尺,則此球從屋頂落到地面共需時多少秒?(不考慮所有阻力) (4 分)
#520809
(1)則角度與為多少?(4 分)
#520810
(2) 2 飛鏢投擲要相距多少時間? () (2 分)
#520811
(1)在 E 點處的夾緊力? (3 分)
#520812
5. 簡述鍵之功能與種類?並加以說明傳送小動力及大動力各應採用何種類型的鍵? (各列舉 3 種) (4 分)
#520814
6. 同學利用一般直尺量測 60 號滾子鏈條傳動機構之鏈輪,量得鏈輪之節徑為 86mm,試求此鏈輪的齒數及真正之節徑為何?(60 號滾子鏈條之節距為 19.05mm,四捨五入取至小數點後第 2 位)(4 分)
#520815
7. 如下圖所示,A、B 兩輪之軸距為 35 公分,A 軸轉速 250rpm,B 軸轉速 100rpm,若無滑動損失,求 C 軸的位置?(4 分)
#520816
(1)A 輪齒數?(2 分)
#520817
(2)懸臂 m 轉速?(2 分)
#520818
相關試卷
114年 - 114 高雄市市立高級中等學校_聯合教師甄選試題:製圖科#127336
114年 · #127336
114年 - 114 高雄市市立高級中等學校_聯合教師甄選試題:機械科#127331
114年 · #127331
114年 - 114 新北市公立高級中等學校_教師聯合甄選試題:板金科、製圖科、機械科#126869
114年 · #126869
113年 - 113 教育部受託辦理公立高級中等學校教師甄選試題:機械科、製圖科、板金科、電腦機械製圖科#122245
113年 · #122245
113年 - 113 高雄市市立高級中等學校聯合教師甄選試題:電腦機械製圖科#121938
113年 · #121938
113年 - 113 高雄市市立高級中等學校聯合教師甄選試題:機械科#121834
113年 · #121834
113年 - 113-1 國立金門高級農工職業學校教師甄選:機械科#120609
113年 · #120609
112年 - 112 國立羅東高級工業職業學校_專任教師甄試試題:機械科#126305
112年 · #126305
112年 - 112 教育部受託辦理公立高級中等學校教師甄選:機械科、模具科、製圖科、板金科、電腦機械製圖科#119026
112年 · #119026
112年 - 112 高雄市市立高級中等學校聯合教師甄選試題:電腦機械製圖科#114509
112年 · #114509