所屬科目:工程力學(包括材料力學)
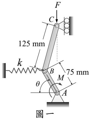
一、圖一之結構,彈力常數為 k =2000 N/m之彈簧連接在B點,且當θ=90°時, 彈簧不伸長也不縮短。力矩M =8 N•m作用於A點。力量 F作用於C點。求當θ=60°時,欲使結構達平衡時所須之力 F=?(25分)
二、圖二(a)之結構,水平桿件 AB 為矩形截面(寬b=40mm,高h=100 mm),長L =4m,桿件 AB 為剛體。傾斜CD桿是由兩根矩形截面桿(寬5b / 8 , 高h)組成,傾斜CD 桿之楊氏模數 E= 20 GPa 。 AB桿與 CD 桿在C點用直徑d=20 mm 之錨釘固定 , 如圖二 (b) 所示。若錨釘之允許剪應力τallow= 100 MPa ,則載重P之允許值 Pallow=? 又,在允許載重Pallow下, B點垂直位移δB=?(25分)
三、長為 L 、直徑為 d 、剪力模數為G之實心圓桿AB,兩端為固定端,受到分佈扭矩 t ( x) = t0x / L 作用,如圖三所示。求圓桿AB之最大剪應力τmax及最大扭轉角Φmax。(25分)
四、梁ABC ,在C點為滑動支撐,如圖四所示,梁之撓曲勁度為EI,熱膨脹係數為α,梁之上下緣分別受到溫度T1及 T2 (T2> T1 ) 作用。試求 C 點的力矩 MC,以及C點的垂直(y向)位移δC。(寫出大小並標出方向)(25分)