阿摩線上測驗
登入
首頁
>
國營事業◆1.應用力學 2.材料力學
> 101年 - 101 經濟部所屬事業機構_新進職員甄試_航空機械製造:1.應用力學 2.機械材料#28507
101年 - 101 經濟部所屬事業機構_新進職員甄試_航空機械製造:1.應用力學 2.機械材料#28507
科目:
國營事業◆1.應用力學 2.材料力學 |
年份:
101年 |
選擇題數:
60 |
申論題數:
0
試卷資訊
所屬科目:
國營事業◆1.應用力學 2.材料力學
選擇題 (60)
1.下列敘述何者有誤? (A)牛頓是力的單位 (B)達因(dyne)是力的單位 (C)焦耳是功率單位 (D)帕斯卡(Pa)是壓力單位
2.下列何者不具方向性? (A)力 (B)位移 (C)加速度 (D)速率
3.【圖1】求兩拉力T
1
,T
2
,對皮帶輪中心點產生的力矩為何?
(A)600ft-lb (B)400 ft-lb (C) 1000 ft-lb (D) 800 ft-lb
4.【圖2】均質連桿長10ft,重1001b,力F作用於連桿A點, 入 於0點的力矩為零,力F為何?
(A)15.35 lb (B) 25.35 lb (C) 35.35 lb (D) 45.35 1b
5.有關摩擦力方面,下列敍述何者有誤? (A)接觸面正壓力愈大,摩擦阻力愈大 (B)摩擦力方向與運動方.向相反 (C)接觸面積愈小,摩擦阻力愈小 (D)動摩擦係數小於靜摩擦係數
6.【圖3】重300lb球體藉由彈簧水平支撐靜止於傾斜平滑面,彈簧力F為?
(A)225 lb (B) 300 lb (C)350 lb (D)375lb
7.【圖4】100 lb之方塊放置於摩擦力為0.3之傾斜面上,但受物體W 一 牵制,假設纜線與皮帶輪之接觸是平滑的狀況,則W至少多重才能 將方塊由斜面往上拉升?
(A)241b (B)361b (C)601b (D)841b
8.—物體放置於平板上,將一端慢慢抬起,當上升至60°傾斜角時,物體開始滑動,此物體與 平板之靜摩擦係數為何?
9 •下述四機構哪項為不全約束(not complete constraint) ?
10.下列敘述何者有誤? (A)空間中之剛體間題可列出六個獨立之平衡方程式 (B)空間中之質點問題可列出三個獨立之平衡方程式 (C)平面上之剛體問題可列出二個獨立之平衡方程式 (D)平面上之質點問題可列出二個獨立之平衡方程式
11.在虛功原理中,由構件位能(V)之數學式,也可研判構件之穩定與否,下列敘述何者最適合?
(A)
>0則系統穩定平衡 (B)
<0則系統不穩定平衡 (C)
=0則系統中性平衡 (D)以上皆是
12.下列敘述何者為牛頓第二定律? (A)物體不受外力作用,則靜者恆靜,動者恆動,作等速直線運動 (B)物體受外力作用,必產生反作用,作用力與反作用力大小相等、方向相反且在同一直線上 (C)物體受外力作用時,沿力之方向必產生一加速度,其大小與作用力成正比,與物體之質量 成反比 (D)物體動量之變化對時間之比,與作用力成反比且其變化之發生方向與作用力相同。
13.【圖5】為一重量W擺錘在一垂直面上作輕微之擺動,其擺動頻率(cycle/sec)為:
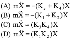
14.【圖6】質量為m之物體由4條彈簧在平衡中撐住, 假設在不影響另一轴向的彈簧下,作動單一轴向之彈 胃&簧,此時物體的作動方程式為何?
15.【圖7】簡易擺錘重51b,0 = 45°時擺錘之速度為8 ft/sec, 在此瞬間其纜線之拉力為何?
(A) 4.9 lb (B) 5.9 lb (C) 6.9 lb (D) 7.9 lb
16.有一物重為W,在半徑為r之圓周上作等速運動,角速度為ω,則此物體之向心力為何?
17.下列哪項不是功的單位? (A)馬力 (B)焦耳 (C) Kg-m (D) ft-lb
18.下列敘述何者有誤? (A)線動量為物體之質量與其速度之乘積 (B)角動量為物體之轉動慣量與角速度之乘積(C)物體所受衝量之大小等於動量 (D)—運動體其質量為m,動量為P,則動能可表示為P
2
/2m
重新載圖
19•一平板車重200 lb,在一水平之軌道上以12 ft/sec速度前進,有一重100 lb之箱體,垂直掉在 此平板車上如【圖8】,在不考慮摩擦損失下,平板車和箱體之前進速度為何?
(A) 5 ft/sec (B) 6 ft/sec (C)12 ft/sec (D)8ft/sec
重新載圖
20.【圖9】為160磅重之工人,坐在固定長椅上,在他以601b的拉力 作用繩索時,則上升之加速度為何?
(A)(B)(C)(D)
21.在機械性質測試中,衝擊試驗所得之衝擊值愈大,所代表的意義為下列何者? (A)硬度越高 (B)韌性愈高 (C)硬度愈低 (D)韌性愈低
22.高破鋼淬火時,加熱至變態點以上溫度後急冷之,其組織變為下列何者? (A)糙斑鐵 (B)麻田散鐵 (C)肥粒鐵 (D)雪明碳鐵
23.下列資料何者無法從鐵碳平衡圖中得知? (A)溫度 (B)成分 (C)組織 (D)拉力強度
24.下列選項何者是機械構造用碳鋼S17C所表示的意義?
(A)含碳量平均0.17 %
(B)硬度為Hb 17
(C)抗拉強度為17磅/吋
2
(D)抗拉強度為17公斤/公分
2
25.精密機件之表面硬化應採下列何種方式? (A)滲碳法 (B)氮化法 (C)火焰硬化 (D)高週波硬化
26.不銹鋼的鉻含量,下列何者正確? (A)小於12% (B)大於12% (C)大於15% (D)大於20%
27.下列何者不是退火的目的? (A)使組織均勻化 (B)改善切削性 (C)消除應力 (D)提高強度
28.鋼材為減少淬火脆性及增加韌性,一般皆施以下列何種程序? (A)正常化處理 (B)退火處理 (C)回火處理 (D)表面硬化
29.合金工具鋼是在碳鋼中加入特殊元素,下列敘述何者為不正確? (A)增進硬化能 (B)析出特殊碳/fb物以增加耐磨性 (C)增進回火軟化抵抗性 (D)增加回火脆性抵抗能力
30.下列何者適用於含礙量在0.2%以下低碳鋼之表面硬化處理? (A)低溫回火法 (B)火焰加熱硬化法 (C)滲碳法 (D)感應電熱硬化法
31.造成金屬材料晶粒滑動的原因是因結晶受到下列何種應力所致? (A)拉應力 (B)剪應力 (C)壓應力 (D)彈性應力
32.下列有關金屬疲勞試驗的敘述,何者有誤? (A)需有週期變化之應力 (B)週期性應力需有足夠次數 (C)疲勞壽命與材料表面狀態有關係 (D)疲勞斷裂時,斷口主要為延性斷口
33.冷鍛用之鋼料含碳量不宜超過下列何者(%) ? (A)0.15 (B) 0.25 (C) 0.35 (D) 0.45
34.下列何者選項為陽極化處理之主要適用對象? (A) Mn、Cr (B) Mo、V (C) Zn、Pb (D) A1、Mg
35.通常於鋼材滾軋的過程中,加熱至略低於臨界溫度(AC3範圍),然後較慢冷卻。此種熱處理方 式為下列何者? (A)沃斯回火 (B)加工退火 (C)正常化 (D)淬火
36.下列何種組織晶粒最細? (A)麻田散鐵 (B)糙斑鐵 (C)吐粒散鐵 (D)波來鐵
37.在金相試驗試片準備步驟,以砂輪切割試片時應使用水冷卻之理由為下列何者? (A)不使產生淬火硬化(B)容易切割 (C)使不改變原來組織(D)減少空氣污染
38.金屬材料因受外力而變形,當外力消除後恢復原狀者,下列選項何者正確? (A)塑性變形 (B)加工變形 (C)彈性變形 (D)雙晶變形
39.下列何者是將不同原子溶入結晶金屬中,產生原子晶格畸變,使差排運動受到阻礙的強化作 用? (A)細晶強化 (B)析出強化 (C)固溶強化 (D)共晶強化
40.深冷處理的目的是要減少或消除下列何種組織? (A)麻田散鐵 (B)肥粒鐵 (C)沃斯田鐵 (D)變韌鐵 T,
41.【圖10】圓盤重W,經由水平拉力T克服高為h的方型障礙物, h=d/4,d為圓盤的直徑,則拉力T
(A)W (B) W/√ 2(C)W/√3(D) W/2
42.【圖11】有一桁架承受平行垂直外力,假設在0點及 A點之反作用力均受限於5000 lb ,則W之最大值為:
(A) 800 lb (B) 900 lb (C) 1000 lb (D) 1100 lb
43.【圖12】連桿OA長度e,不考慮重量,以鉸接(Hinge) 方式支撐於0點,另一端有荷重W,且以BC纜線連接 4 於OA之中心點C,支撐此連桿,則BC纜線之拉力為
(A) 2W (B) 3W (C) 4W (D) 5W
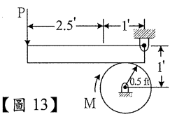
44.【圖13】100 ft-lb扭矩M作用於連桿,刹車系統與連桿之摩擦係數 為0.3,在不考慮連桿之重量下,作動連桿停車之作用力p為:
(A) 919 lb (B) 12191b (C) 16191b (D) 1919 lb
45.【圖14】電梯以加速度a拉升,電梯内有一體重80.51b 小孩站在磅秤上重901b,而整座電梯含乘客共重24151b ,在電梯上升中,電梯纜線的張力T為:
(A) 2100 lb (B) 2300 lb 丨革AjlAl (C) 2500 lb (D) 2700 lb 【圖 14】8j51b
46.【圖15】A方塊和B方塊在一斜面上向下滑動,W
A
= 151b,W
B
=201b, B方塊和滑動面摩擦係數為0.3,假設A方塊和滑動面間很平滑,求在滑動中A作用於B方塊作用力為:
(A) 1.82 lb (B) 1.52 lb (C) 1.42 lb (D) 1.32 lb
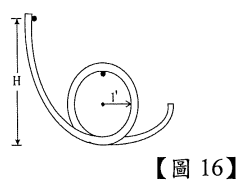
47.【圖16】有一小球在弧形平滑執道上向下滑動,在球滑到弧形 軌道頂點時不脫離軌道之最小高度H為:
(A) i.5 ft (B) 2.5 ft (C) 3.5 ft (D) 4.5 ft
48.【圖17】有一球體重lib藉著纜線在半徑為3呎之垂直圓型路 徑上逐漸加速飛轉,纜線另一端固定在圓型路徑中心,纜線斷 裂之強度為7 lb,求在纜線斷裂時,此球體之速度v為:
(A) 12 ft/sec (B) 18 ft/sec (C) 20 fl/sec (D) 24 ft/sec
49.有一物體因殘留應力之關係突然炸成兩塊,重量分別為8 lb及4 lb,且以相對速度75 ft/sec飛 離,此兩塊物體之速度為何(不考慮空氣阻力)? (A) 20 ft/sec, -40 ft/sec (B) 25 ft/sec, -50 ft/sec (C) 30 ft/sec, -60 fVsec (D) 35 ft/sec, -70 ft/sec
50.【圖18】平板車重量W在沒有阻力下以v。速度順著一水平軌道前進,平板車前端有一重量 為w的人以相對平板車之速度u跑向後頭,縱身跳下,其跳離後平板車之速度為:
51.下列有關鈦合金的敘述何者有誤? (A)具密度低、高“強度/重量”比,有利零件減重 (B)具良好延展性,易於鍛造及加工 (C)抗腐蝕性佳,常應用於航太零件 (D)僅有BCC晶體結構(泠鈦合金)
52.下列有關析出熱處理的敘述,何者有誤? (A)其順序:固溶處理—低溫淬火—時效處理 (B)固溶處理是將金屬加熱至固溶線以上之單相區 (C)低溫淬火是將固溶體淬火至固溶線以下溫度 (D)時效熱處理僅有人工時效一種
53.下列有關再結晶之敘述,何者有誤? (A)金屬材料產生再結晶必須有超過臨界點以上之加工量才會發生 (B)加工度愈大,再結晶溫度愈低 (C)加工度愈大,再結晶後之晶粒愈大 (D)金屬材料之再結晶溫度與該金屬熔點有關
54.下列有關鎳基合金的敘述,何者有誤? (A)有固溶型及析出強化型兩類 (B)Cr含量至少15%以上,具抗高溫腐蝕特性 (C)為六方最密堆積(HCP)結構,延展性差 (D)常應用於引擎高溫段零件
55.下列有關銘合金的敘述,何者有誤? (A)具低密度、高導電度與導熱性 (B)常以陽極化、染色做表面處理 (C)其編號2xxx、6xxx、7xxx為固溶強化非熱處理型 (D)最大的限制為其低熔點(600°C)限制了鋁合金的使用溫度
56.下列何種複合材料纖維應用於飛機主要結構件上? (A)後纖維 (B)克維拉纖維 (C)玻璃纖維 (D)硼纖維
57.碳鋼之金相組織中,波來鐵是下列何者之共析? (A)肥粒鐵與沃斯田鐵 (B)肥粒鐵與變韌鐵 (C)沃斯田鐵與雪明碳鐵 (D)肥粒鐵與雪明碳鐵
58.下列有關冷作敘述,何者有誤? (A)金屬材料因冷作而使差排增加或糾結而變硬脆現象,稱為加工硬化 (B)冷作會造成相的變化 (C)可以退火來改善加工硬化現象 (D)對非熱處理型之金屬材料而言,冷作是增加強度及硬度之方法
59.下列有關差排之敘述,何者有誤? (A)差排形式分為刃狀、螺旋及混合等差排 (B)差排是屬於材料點缺陷 (C)差排通常是在結晶的滑動系上滑動 (D)差排數目可因材料加工而源源不斷增加
60.下列何者選項為潛變的敘述? (A)拉伸試驗時外力慢慢增加所引起的變形 (B)高溫下作拉伸所引起的變形 (C)高溫下作衝擊所引起的變形 (D)高溫下長時間承受靜態壓力所引起的變形
申論題 (0)
相關試卷
114年 - 114 經濟部所屬事業機構_新進職員甄試試題_土木、機械:1 .應用力學 2 .材料力學#136984
114年 · #136984
113年 - 113 經濟部所屬事業機構_新進職員甄試_土木、機械:1.應用力學 2.材料力學#125720
113年 · #125720
112年 - 112 經濟部所屬事業機構_新進職員甄試_土木、機械:1.應用力學 2.材料力學#116964
112年 · #116964
111年 - 111 經濟部所屬事業機構_新進職員甄試_土木、機械:1.應用力學 2.材料力學#111360
111年 · #111360
110年 - 110 經濟部所屬事業機構_新進職員甄試_土木、機械:1.應用力學 2.材料力學#103676
110年 · #103676
109年 - 109 經濟部所屬事業機構_新進職員甄試_土木、機械:1.應用力學 2.材料力學#92866
109年 · #92866
108年 - 108 經濟部所屬事業機構_新進職員甄試_土木、機械:1.應用力學 2.材料力學#80809
108年 · #80809
107年 - 107 經濟部所屬事業機構_新進職員甄試_土木、機械:1.應用力學 2.材料力學#76260
107年 · #76260
106年 - 106 經濟部所屬事業機構_新進職員甄試_土木、機械:1.應用力學 2.材料力學(重複)#81162
106年 · #81162
106年 - 106 經濟部所屬事業機構_新進職員甄試_土木、機械:1.應用力學#71725
106年 · #71725