所屬科目:國營事業◆1.應用力學 2.材料力學
2. 如右圖所示,有一球體重量W 480 N,將其置於光滑之鉛直面及 斜面上,其接觸點B之反力大小為何? (A) 200 N (B) 400 N (C) 520 N (D) 1248 N
3. 如右圖所示,簡支梁承受一均變荷重,請問支承B點之反力為何? (A) 300 KN (B) 600 KN (C) 1200 KN (D) 1350 KN
4. 如右圖所示,圓柱重240 N,用軟繩懸掛之,並靠於光滑斜面上,則斜面 之反力為何? (A) 80 N (B) 80 N (C) 240 N (D) 240N
5. 假設一物體之位移函數,其中S以公尺表示,t以秒表示,當t =3秒時 之加速度為何? (A) 21 m / (B) 38 m / (C) 58 m / (D) 98 m /
7. 如右圖所示,AB、AC及AD皆為光滑之固定斜面,將一靜止物體 A 分別沿著三個斜面下滑,滑至底端之瞬間速度分別為 以及VD ,則下列何者正確? (A) (B) (C) (D)
9. 如右圖所示,圓柱重2400 kg,則與重力垂直之最小P 力為多少才能拉起圓柱? (A) 1800 kg (B) 2400 kg (C) 1800 kg (D) 2400 kg
10. 如右圖所示,滑輪半徑R=1 m,則三作用力於滑輪之合力大小 為何? (A) 200 KN (B) 400 KN (C) 400 KN (D) 200 KN
11. 如右圖所示,桁架於K點受一外力P作用,則該桁架之零桿件 數量為何? (A) 6根 (B) 7根 (C) 8根 (D) 9根
12. 一平面桁架如右圖所示,於i點受120 KN之外力,則bd桿件 內力之大小為何? (A) 0 KN (B) 120 KN (C) 160 KN (D) 200 KN
13. 如右圖所示,於梁C點受一彎矩M作用,梁之 抗撓剛度為EI,則該梁位於C點之垂直變位為 何? (A) (B) (C) (D)
14. 如右圖所示之開口圓形薄壁管斷面之半徑為r、厚度為t,則其剪力 中心位於何處? (A) A點 (B) B點 (C) C點 (D) D點
15. 平面之最大主應力σ1 =13 kg/cm2 ,最小主應力 ,則最大剪應力 大小為何? (A) (B) (C) (D)
20. 當材料受均勻應力時,材料之彈性係數E,蒲松比ν(Poisson’s ratio),體積彈性係數 ,這三 者之間關係可用下列何式表示? (A) (B) (C) (D)
24. 如右圖所示一懸臂梁長L,抗撓剛度EI,受均佈荷重W及自由 端A點受一彎矩M作用,則A點之垂直變位為何? (A) (B) (C) (D)
25. 如右圖所示之梁受均佈荷重W,抗撓剛度EI,則A點之垂直反力為下列何者? (A) (B) (C) (D)
26. 如右圖所示,繩索與滑輪之摩擦不計,其餘接觸面之摩擦係 數皆為0.3,則欲拉動重600 KN之物體(其上有一物體重200 KN ),F至少應為何? (A) 120 KN (B) 240 KN(C) 300 KN (D) 360 KN
27. 如右圖所示,物重130 N,繩索與滑輪之摩擦不計,物體與斜面 間之摩擦係數為0.2,欲使物體靜止在斜面上,則W值之範圍為 何? (A) (B) (C) (D)
29. 有一物體由地面以初速V與水平面成60°之仰角斜向上拋出,其到達最高點之高度為H,落地時 之水平移動距離為S,忽略空氣阻力,重力加速度為g,則 為何? (A) (B) (C) (D)
30. 甲乙兩人面對面互相以推力作用,甲重800 N,乙重500 N,甲以700 N的力去推乙,乙則以 300 N的力去推甲,若甲乙二人與地面之摩擦係數為0.4,則甲的加速度為多少? (假設g 10 m / ) (A) 0.75 m / (B) 0.85 m / (C) 7.5 m / (D) 8.5 m /
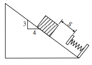
31. 如右圖所示,有一質量為10 kg之物體置於光滑斜面上,將其由靜 止釋放沿著光滑斜面下滑S距離,接觸彈簧後無任何能量損失,彈 簧最大變形量為10 cm,若彈力常數k 2400 N/m,則S距離為何 ?(假設g 10 m / ) (A) 5 cm(B) 10 cm (C) 15 cm (D) 20 cm
32. 有一起重機於60秒間,將一重4公噸之物體等速度升高12公尺,則功率為何?(假設g= 10 m / ) (A) 0.4 瓩 (B) 0.8 瓩 (C) 4 瓩 (D) 8 瓩
34. 一物體重W,以一條繩索AB懸掛,並在B點施加一拉力P, 使其如右圖所示在此位置保持平衡,最小之拉力P為何? (A) (B) (C)(D)
35. 有一構造如右圖所示,A、C為鉸支承(hinge),B為銷 釘(pin),受一力為24 KN作用,則支承A點之水平反 力 與垂直反力 AY大小各為何? (A) (B) (C) (D)
36. 如右圖所示構架,於B點為鉸接,則D點彎矩大小為何? (A) 640 KN-m (B) 960 KN-m (C) 1280 KN-m (D) 1920 KN-m
37. 如右圖所示,半圓之半徑為r,其形心距X軸之 大小為何? (A) (B) (C) (D)
38. 設A、B、C三質點之重量分別為5 kg、3 kg、2 kg,其平面座標(x,y)依序為(1,4)、(3,10)、 (3,-5) ,請問此三質點之重心位置 為何? (A) (2,2) (B) (2,4) (C) (4,2) (D) (4,4)
39. Euler柱長L,抗撓剛度為EI,該柱一端為固定端,另一端為自由端,受一軸壓力作用,則最小 挫屈軸壓力為何? (A) (B) (C) (D)
40. 如右圖所示求斜線區域之形心位置(x,y)=? (A) (0 , 0.57r) (B) (0 , 0.68r) (C) (0 , 1.14r) (D) (0 , 1.37r)
41. 如右圖所示,薄壁管斷面壁厚皆為6 mm,承受一 扭矩T=4 KN–m作用,試求壁中剪應力大小為何? (A) 32.83 MPa (B) 65.67 MPa (C) 98.5 MPa (D) 131.32 MPa
42. 有一柱其斷面積為A,材料彈性係數為E,受力如右圖所示,若柱無挫屈之 不穩定產生,則儲存於柱內之應變能為何? (A) (B) (C) (D)
43. 如右圖所示中空鋼管斷面,材料之剪力模數G = 76 GPa,管長 2 m,受一扭矩T =25 KN – m之作用,試求該管之扭轉角∅為 何? (A) 0.011 rad (B) 0.022 rad (C) 0.033 rad (D) 0.044 rad
44. 一銅桿之兩端為固定,斷面積10 ,當溫度為20°C時,其長為1.5 m,當溫度上升至60°C時 ,則桿內應力為何?(銅之彈性係數 ,熱膨脹係數 (A) 772.8 kg/ (B) 1159.2 kg/ (C) 7728 kg/ (D) 11592 kg/
46. 一均質彈性材料之強度為360 Mpa,以此材料設計一根梁,該梁須承受180 KN-m之彎矩。若使 用安全係數2.0,則所設計梁之斷面模數(section modulus)至少應為何? (A) 1000 (B) 2000 (C) 3000 (D) 4000
47. 有一受雙軸向應力之材料,若主應力 σX= 5000 kg/ , σY= 4000 kg/ ,則其最大剪應 力為何? (A) 0 kg/ (B) 500 kg/ (C) 1000 kg/ (D) 4500 kg/
48. 有一矩形梁,其斷面寬為a、高為3a,可承受之彎矩為 M1,若將斷面改為寬為3a、高為a,可承 受之彎矩為 ,則 為多少? (A) (B) (C) (D)
49. 有一懸臂梁,其斷面為圓形、半徑為r,在自由端受一集中載重P,則該懸臂梁中之最大剪應力 為何? (A) (B) (C) (D)
50. 一中空圓軸之外徑為30公分,於承受一扭矩作用後,在其內壁之剪應力為300 kg/ ,且外壁 之剪應力為500 kg/ ,則其內徑為多少? (A) 3 cm (B) 6 cm (C) 9 cm (D) 18 cm